Стройся!!! Строительство, проекты домов Ремонтные работы   
Поиск Проекты домов Дом, участок, сад Стройка, отделка, ремонт Инж. системы Интерьер, дизайн Статьи Форум, блоги Объявления



Учимся устанавливать сантехнику

Наверх

Работы с деревом || Работы по металлу || Отделочные работы || Малярные работы || Прочие работы

   

Врезаем замок

Инструменты: трубный ключ с защитными колпачками на губках или (что лучше) — специальный арматурный ключ, предохраняющий смесители от царапин; набор отверток различной ширины и формы; большой разводной трубный ключ; комплект паяльного инструмента; газовая горелка и флюс для пайки труб питьевой воды; тиски; молоток; зубило; ножовка по металлу; напильники; проволочные щетки и мочалки; складной метр; угольник; уровень; электродрель ударного действия либо перфоратор с набором сверл по бетону (диаметром до 14 см).

Монтаж. При проведении монтажа арматуры нужны не только инструменты, но и материалы, необходимые для герметизации соединений (например, уплотнительная лента, пакля, герметики, резиновые прокладки). Пришедший в негодность сифон (слив) нужно заменить новым. Сифоны выпускаются пластмассовые и металлические. Наиболее прост в установке гибкий сифон. Ниже рассматриваются схемы и последовательность монтажа арматуры и сливов на кухне и в ванной с указанием мест размещения прокладок при замене старых на новые. Новая прокладка по размеру должна точно соответствовать новой. По окончании монтажа все соединения обязательно проверяются на герметичность.

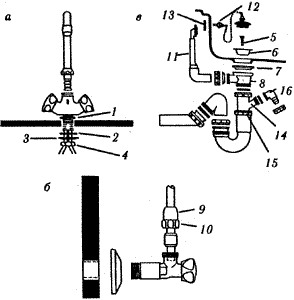
Монтаж кухонной мойки
Рис. 164. Монтаж кухонной мойки:
а - монтаж смесителя; б - подключение смесителя; в - монтаж перелива, выпуска и сифона; 1 - уплотнительное кольцо; 2 - резиновая прокладка; 3 - металлическая шайба; 4 - гайка; 5 - винт; 6 - сеть выпуска; 7 - прокладка; 8 - тройник; 9 - зажимной конус; 10 - гайка; 11 - перелив; 12 - винт; 13 - прокладка; 14 - тройник сифона; 15 - гайка; 16 - угловой наконечник

Кухонная мойка. Монтаж смесителя (рис. 164, а). Уплотнительное кольцо (1) уложить между смесителем и верхней плоскостью раковины так, чтобы оно попало в углубление под смесителем. После этого снизу на патрубок надеть резиновую прокладку (2), металлическую шайбу (3) и затянуть гайкой (4). Сняв защитный колпак поворотного излива, тщательно смазать консистентной смазкой вращающуюся в корпусе часть излива. Затем его надо поставить на место в смесителе так, чтобы верхнее кольцо немного выступало наружу, и плотно затянуть гайку-колпак. Подключение смесителя (рис. 164, б). Сначала необходимо уплотнить соединения клеем или уплотнительной лентой ФУМ, после чего установить угловые вентили на отводы стояков горячей и холодной воды. Выгнуть обе медные трубки смесителя так, чтобы их можно было ввести до упора в угловые вентили. Трубки при необходимости укоротить. Надеть на медные трубки зажимные конусы (9) и гайки (10), гайки следует затянуть. Монтаж перелива, выпуска и сифона (рис. 164, в). В сливное отверстие раковины вставить сеть (6) выпуска на герметике, затем соединить через прокладку (7) винтом (5) тройник (8) перелива с сеткой (6). Регулируемый по высоте перелив (11) с помощью винта (12) через прокладку (13) закрепить у переливного отверстия раковины. Отвод сифона вставить в отверстие канализационного стояка и уплотнить его герметиком или резиновой муфтой. Привинтить регулируемый по высоте тройник (14) сифона к тройнику (8), а гайку (15) крепко затянуть. Патрубок тройника можно закрыть заглушкой, обычно имеющейся в комплекте с арматурой, сняв предварительно с него угловой наконечник (16), предназначенный для подключения посудомоечной машины.

Монтаж умывальника
Рис. 165. Монтаж умывальника:
а - монтаж смесителя; б - подключение смесителя; в - монтаж выпуска и сифона; 1 - уплотнительная прокладка; 2 - металлическая шайба; 3 - контргайка; 4 - гайка; 5 - зажимный конус; 6 - прокладка; 7 - выпуск; 8 - штанга клапана; 9 - муфта; 10 - пробка; 11 - труба; 12 - гайка

Умывальник. Монтаж смесителя (рис. 165, а). С верхней и нижней стороны раковины поставить по одной уплотнительной прокладке (1). Между уплотнительной прокладкой (1) и контргайкой (3) поместить металлическую шайбу (2). Закрутить как следует контргайку. Подключение смесителя (рис. 165, б). Тщательно уплотнить резьбу угловых смесителей, подогнать медные трубки и зафиксировать с помощью гайки (4) и зажимного конуса (5). Монтаж выпуска и сифона (рис. 165, в). Вставить выпуск (7) в сливное отверстие раковины, уплотнить прокладками или герметиком. Навинтить трубу выпуска с прокладкой (6) на выпуск (7). Штангу (8) клапана с помощью муфты (9) соединить с управляющей тягой смесителя (если они предусмотрены инструкцией). Положение пробки (10) отрегулировать по высоте латунным винтом. Вставить отвод сифона в отверстие канализационного стояка и уплотнить резиновой муфтой или герметиком. Отрегулировав по высоте трубы (11) положение сифона, подсоединить его с помощью гайки (12) к трубе выпуска.

Монтаж оборудования ванной
Рис. 166. Монтаж оборудования ванной:
а - монтаж сливной аппаратуры; б - монтаж перелива; в - монтаж смесителя для ванны; 1 - сетка; 2 - винт; 3 - прокладка; 4 - тройник; 5 - сифон; 6 - угольник; 7 - отвод; 8 - выпуск перелива; 9 - труба; 10 - гайка; 11 - Z-образный патрубок; 12 - розетка; 13 - прокладка; 14 - накидная гайка; 15 - шланг ручного душа

Ванна. Монтаж сливной аппаратуры ванны (рис. 166, а). Вставить сетку (1) в сливное отверстие ванны, промазав по контуру герметиком. Тройник (4) винтом (2) через прокладку (3) соединить с сеткой (1). Далее соединить между собой сифон (5), угольник (6) и отвод (7). Поставить прокладки. Отвод (7) вставить в отверстие канализационного стояка, уплотнить резиновой муфтой или герметиком, после чего соединить сифон (5) и тройник (4). Монтаж перелива (рис. 166, б). Вставить выпуск перелива (8) в трубу (9), которую при необходимости можно укоротить. Переливной узел собирают аналогично сливу. Переливную трубу подсоединить к тройнику (4) слива, предварительно надев на нее гайку (10) и конический уплотнитель. Монтаж смесителя для ванны (рис. 166, в). Z-образные патрубки (11) навинтить на трубы водопровода так, чтобы к ним можно было подсоединить смеситель, уплотнить паклей (или лентой ФУМ), намотав ее в направлении ввинчивания. Закрыть патрубки розетками (12), после чего установить смеситель, используя накидные гайки (14) с прокладками (13). В конце привинтить шланг (15) ручного душа.

Монтаж душа
Рис. 167. Монтаж душа:
а - монтаж сливного оборудования; б - монтаж смесителя душа; в - крепление настенной штанги и шланга; 1 - выпуск; 2 - прокладка; 3 - контргайка; 4 - пластина; 5 - сифон; 6 - угольник; 7 - отвод

Душ. Монтаж сливного оборудования (рис. 167, а). Вставить выпуск (1) в сливное отверстие душевого поддона, уплотнив герметиком. Надеть на него снизу прокладку (2) и затянуть контргайку (3). К пластине (4) подсоединить уравнитель электрических потенциалов. Далее через прокладку установить сифон (5), угольник (6) и отвод (7). Отвод вставить в отверстие канализационного стояка и уплотнить герметиком или резиновой муфтой. Соединить сифон с выпуском и затянуть гайку. Монтаж смесителя душа (рис. 167, б). Эта работа проводится точно так же, как и при монтаже смесителя для ванны. Крепление настенной штанги и шланга (рис. 167, в). Сначала нужно прикрепить штангу шурупами к стене. При покупке шланга душа особое внимание следует обратить на то, чтобы его резьба соответствовала резьбе смесителя (чаще всего это 3/4 дюйма, иногда — 1/2 дюйма). Душ с гибким шлангом и шарнирные элементы всегда имеют резьбу 1/2 дюйма. Постоянно помните о необходимости ставить прокладки.

Мелкий ремонт сантехники


---

Ссылки на другие страницы сайта по теме «строительство, обустройство дома»:




© 2000 - 2003 Oleg V. Mukhin.Ru™


Проект I-263-1P