Стройся!!! Строительство, проекты домов Строительство дома   
Поиск Проекты домов Дом, участок, сад Стройка, отделка, ремонт Инж. системы Интерьер, дизайн Статьи Форум, блоги Объявления



Ксилолитовые полы

Наверх

Конструкции домов. Материалы || Возведение фундамента || Возведение стен || Перекрытия || Кровельные работы || Устройство полов || Двери. Окна || Изоляция строительных конструкций || Строительство мансарды || Лестницы || Терраса. Веранда. Крыльцо

Инструменты, машины и приспособления для устройства полов || Полы из дерева, плит ДСП, ДВП, паркета || Рулонные и плиточные синтетические полы || Бетонные и цементно-песчаные основания, полы мозаичные, из керамической плитки, искусственного камня || Полы из природного камня, бесшовные (наливные), из пробки, из ламината, из ковролина || Подготовка основания под полы || Типы покрытий полов и их основания || Устройство и ремонт полов || Цементно-песчаные, цементно-бетонные и асфальтобетонные полы || Мозаично-бетонные (террацовые) полы || Ксилолитовые полы || Технические характеристики материалов для монолитных ксилолитовых полов || Полы из бетонно-мозаичных плит || Полы из керамической плитки || Полы из ковровой мозаики (мелких плиток, наклеенных на листы бумаги) || Полы из керамического гранита || Ремонт цементно-песчаных, ксилолитовых полов, полов из бетонно-мозаичных, керамических и других плит || Полы из полимерных рулонных материалов || Полы из полимерных плиточных материалов || Ремонт полов из полимерных рулонных, плиточных и других упругих материалов || Полы из изделий минеральных расплавов || Полы бесшовные (наливные) из полимерных материалов || "Теплые" монолитные полы || Дефекты при устройстве наливных полов и способы их устранения || Полы из натурального камня || Ковровые покрытия (ковролины) из полимерных материалов || Дощатые полы || Полы из сверхтвердых древесностружечных и древесноволокнистых плит

Мозаично-бетонные (террацевые) полы

Ксилолитовые покрытия. Ксилолит предназначается для устройства полов в жилых, общественных и промышленных зданиях, в которых нет постоянного увлажнения пола и воздействия на него агрессивных сред (кислота, сахар и т.д.), разрушающих ксилолит. Полы из ксилолита гигиеничные, прочные, теплые, огнестойкие. Покрытие укладывают после окончания в помещении всех отделочных работ, включая остекление окон и навешивание дверей. Температура воздуха в помещении при укладке и затвердевании ксилолитового покрытия должна быть в пределах 10-30°С. Подстилающий и выравнивающий слой перед укладкой ксилолитового покрытия должен быть просушен на всю толщину. Масляные пятна на бетонном основании удаляют раствором едкого натра, а известковые - 3%-ным раствором соляной кислоты. Остатки соляной кислоты и щелочи смывают водой, после чего основание подсушивают. Насекают и огрунтовывают бетонное основание не ранее чем за 40 минут до укладки ксилолитовой смеси. Температурные, усадочные и другие швы в ксилолитовых покрытиях выполняют в тех местах, где устроены аналогичные швы бетонного основания.

Ксилолитовые полы укладывают по деревянным строганым маячным рейкам. Горизонтальность покрытия контролируют в процессе укладки рейкой и уровнем. Уложенную смесь выравнивают с помощью граблей и рейки. Затем смесь тщательно уплотняют пневматическими трамбовками. Если при трамбовании на покрытии выступает много жидкости, поверхность его посыпают сухой ксилолитовой смесью и снова трамбуют. Поверхность лицевого слоя ксилолитового покрытия заглаживают гладилками. Появляющиеся на поверхности покрытия бугорки прокалывают, чтобы выпустить воздух, и вновь заглаживают. На хорошо заглаженном покрытии равномерно выступает магнезиальное молоко. Заглаживание должно быть закончено до начала схватывания ксилолитовой смеси. Верхний слой двухслойного покрытия укладывают по незаглаженному, затвердевшему и подсохшему нижнему слою через 1-3 суток после его укладки. Поверхность нижнего слоя предварительно огрунтовывают раствором хлористого магния плотностью 1,06-1,07 г/см2.

Ксилолитовую смесь укладывают в покрытие полосами шириной до 2,5 м. Перед укладкой нового участка ксилолитового покрытия кромку ранее уложенного участка обрубают вертикально по прямой линии, очищают и огрунтовывают раствором хлористого магния одновременно с огрунтовкой бетонного основания. Стык свежеуложенного ксилолитового покрытия с ранее уложенным тщательно трамбуют и заглаживают до тех пор, пока он станет совершенно незаметным. Во время твердения ксилолитовые покрытия предохраняют от местного перегрева приборами отопления и от преждевременного движения по ним людей и транспортных средств. Помещение слегка проветривают.

Многоцветные ксилолитовые покрытия устраивают по рисунку, определяемому проектом, двумя способами: без разделения границ рисунка покрытия специальными прокладками; с разделением границ рисунка прокладками (жилками) из меди, латуни, нержавеющей стали или стекла. Первый способ требует больше времени на устройство покрытия, чем второй, так как ксилолитовую смесь каждого цвета можно укладывать только после затвердения и высыхания массы ранее уложенного смежного участка. Устройство многоцветного ксилолитового покрытия без жилок начинают с разбивки рисунка. Для этого на поверхности подстилающего или нижнего слоя в двухслойном ксилолитовом покрытии наносят мелом контуры рисунка пола от центра помещения к стенам. Затем на поверхности подстилающего слоя укладывают деревянные рейки, часть которых маячные, а часть - разделительные.

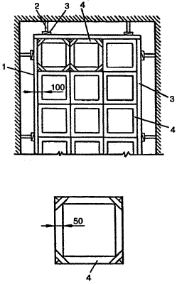
Схема установки маячных и разделительных реек при устройстве ксилолитовых (мозаичных) полов по рисунку
Рис. 93. Схема установки маячных и разделительных реек при устройстве ксилолитовых (мозаичных) полов по рисунку
1 - маячная рейка; 2 - распорка; 3 - клинья; 4 - рамка-оплубка

Часто маячные 1 и разделительные рейки монтируют в рамку-опалубку 4. После установки рейки выверяют по угольнику и уровню и окончательно закрепляют на отметке пола. Опалубку закрепляют с помощью распорок 2 с клиньями 3 и магнезиальным раствором. После выполнения всех подготовительных операций приступают к последовательной укладке ксилолитовой смеси различных цветов в соответствии с рисунком покрытия. Сначала укладывают смесь требуемого цвета на участках фриза 1, затем квадрата 2. После достаточного отвердевания и высыхания смеси на уложенных участках снимают опалубку в зоне 3 (фон) и укладывают смесь. Укладка, разравнивание и уплотнение ксилолитовой смеси по рисунку в данном случае производятся так же, как и при устройстве одноцветных покрытий. При устройстве ксилолитовых покрытий с жилками (прокладками) деревянные маячные рейки и рамки устанавливать не нужно, так как опалубкой для укладки смеси различных цветов служат жилки. Ширина жилок зависит от толщины подстилающего и лицевого слоя в однослойном ксилолитовом покрытии или толщины нижнего и верхнего слоев в двухслойном. После разбивки и нанесения контура рисунка в подстилающем или нижнем слое ксилолитового покрытия (если эти слои еще недостаточно затвердели) делают лопаткой прорези, в которые вставляют жилки так, чтобы их верхняя кромка была на уровне пола. Установку жилок выверяют правилом и уровнем. Жилки дополнительно укрепляют магнезиальным раствором. Если подготовительный или нижний слой двухслойного ксилолитового покрытия не позволяет втопить или врезать жилки, их укрепляют магнезиальным раствором непосредственно на поверхности подстилающего слоя.

В полученный таким образом каркас из жилок обычным способом укладывают ксилолитовые смеси различных цветов. Смесь укладывают бесперебойно, не ожидая схватывания и твердения ее на смежных участках. Уплотняют ксилолитовую смесь осторожно, чтобы не повредить и не сместить жилки и не нарушить рисунка покрытия. Смесь уплотняют легкими трамбовками и гладилками до равномерного появления магнезиального молока. Применяя прямолинейные и криволинейные жилки различных очертаний, можно устраивать ксилолитовые покрытия как простого, так и сложного рисунка.

Рисунок ксилолитового (мозаичного) пола
Рис. 94. Рисунок ксилолитового (мозаичного) пола
1 - фриз; 2 - квадратные шашки; 3 - фон

При устройстве ксилолитовых покрытий могут появляться дефекты, которые устраняют до ввода покрытий в эксплуатацию. Белый налет, выступающий на поверхности ксилолитового покрытия, смывают теплой водой, после чего пол вытирают чистыми тряпками насухо. При отслоении верхнего слоя от нижнего или обоих слоев от основания участки отслоившегося покрытия заменяют новым ксилолитовым покрытием. При появлении в покрытии трещин вдоль них вырубают полосу трапецеидального сечения широкой стороной книзу и вместо этой полосы укладывают новое ксилолитовое покрытие, тщательно трамбуя и затирая его. Отделку ксилолитовых покрытий (циклевание, затирка, шлифование) следует начинать не ранее достижения покрытием прочности, при которой исключена возможность выкрашивания опилок (через 1-2 суток после укладки покрытия). Циклевание и шлифование выполняют с помощью циклевочных и шлифовальных машин. Циклюют покрытия насухо, во время шлифования покрытие нужно смачивать водой.

Чтобы уменьшить пористость ксилолитового покрытия, после циклевания его затирают смесью из 300 г магнезита и 30 г пигмента затворенной 1 л раствора хлористого магния плотностью 1,07 г/см3. Раствор должен быть использован в течение 1 ч. Затирают покрытие ветошью или тряпками, смоченными в растворе; излишки раствора удаляют.

Ксилолитовые покрытия протирают маслянистыми составами (растительными маслами, олифой, смесью из 30% растительного масла и 70% скипидара), которые придают ксилолитовому покрытию большую водостойкость. Операцию выполняют после полного просыхания ксилолитового пола (через 20-30 суток после укладки покрытия). Протирают ксилолитовые покрытия подогретыми до 40-50°С составами, втирая их мягкими тряпками или ветошью. Излишки масла удаляют. После протирки маслом и высыхания его, ксилолитовые покрытия натирают мастикой для натирки полов или расплавленной смесью следующего состава мас.ч.: парафина - 2, воска - 1, скипидара - 1, керосина — 5. Ксилолитовые покрытия натирают до получения блестящей поверхности.

Технические характеристики материалов для монолитных ксилолитовых полов


---

Ссылки на другие страницы сайта по теме «строительство, обустройство дома»:




© 2000 - 2004 Oleg V. Mukhin.Ru™


Проект L-236-1P