Стройся!!! Строительство, проекты домов Строительство дома   
Поиск Проекты домов Дом, участок, сад Стройка, отделка, ремонт Инж. системы Интерьер, дизайн Статьи Форум, блоги Объявления



Конструкция наружных кирпичных стен

Наверх

Конструкции домов. Материалы || Возведение фундамента || Возведение стен || Перекрытия || Кровельные работы || Устройство полов || Двери. Окна || Изоляция строительных конструкций || Строительство мансарды || Лестницы || Терраса. Веранда. Крыльцо

Конструкция наружных кирпичных стен || Перегородки

Возведение стен

Вид кирпича Характеристики на конструкции стен Толщина стены в см Расчетная t° наружного воздуха
1 2 3 4
Глиняный обыкновенный полнотелый и силикатный Сплошая кладка с внутренней штукатуркой 25 -5°C
38 -10°C
51 -20°C
64 -30°C
Кладка с воздушной прослойкой 42 -20°C (-30°C)
55 -30°C (-40°C)
68 -40°C (-50°C)
Колодцевая кладка с внутренней штукатуркой и минеральной засыпкой с объемной массой 1400 кг/м3 38 -10°C (-20°C)
51 -25°C (-35°C)
64 -35°C (-50°C)
Сплошная кладка с внутренним утеплением термоизоляционными плитами толщиной 10 см. 25  -20°C (-25°C)
38  -30°C (-35°C)
51  -40°C (-50°C)
Сплошная кладка с внутренней штукатуркой и наружными пустотелыми плитными утеплителями толщиной 5 см 25  -20°C (-30°C)
38  -30°C (-40°C)
51 -40°C (-50°C) 
Пустотелый глиняный Сплошная кладка с внутренней штукатуркой 25 -10°C
38 -20°C
51 -35°C
Кладка с воздушной прослойкой 5 см, наружной и внутренней штукатуркой 29 -15°C (-25°C)
42 -25°C (-35°C)
55 -40°C (-50°C)

Стены из легкого монолитного бетона делают монолитными или мелкоблочными. Стены из легких бетонов пользуются спросом у застройщиков ввиду их простой технологии возведения, невысокой стоимости, хороших эксплуатационных качеств. Мягкий монолитный бетон получают на основе заполнителей - шлака, керамзитового гравия, опилок. Прочный и легкий материал, шлакобетон, получается на основе топливного или металлургического шлака. Для большей прочности в бетон добавляется 10-20% песка от объема шлака. Стены из этого материала возводят с помощью переставной щитовой опалубки высотой 40-60 см из четырехсантиметровых досок. Изнутри щиты покрывают синтетической пленкой или пергамином и прижимают к стойкам, установленным с обеих сторон возводимой стены на всю ее высоту. Расстояние между соседними стойками не должно превышать 1,5 м. Каждая пара стоек друг против друга поверху стягивается проволочными скрутками, а внутрь опалубки устанавливаются временные распорки. Шлакобетон укладывают слоями по 15-20 см, уплотняя и утрамбовывая. Через 2-3 дня опалубка переставляется, но в течение десяти дней шлакобетонные стены укрываются от солнечных лучей и периодически увлажняются. Штукатурить стены можно не ранее чем через месяц с обеих сторон. Шлакобетонные стены возводятся с кирпичной облицовкой, которая выполняет роль наружной опалубки. Внутренняя деревянная опалубка крепится с помощью стоек и откосов.

Переставная щитовая опалубка
Рис. 14. Переставная щитовая опалубка:
1 - шлакобетон; 2 - щит опалубки; 3 - пергамин; 4 - стойки; 5 - распорка; 6 - проволочная скрутка; 7 - клинья

ВНИМАНИЕ! Свежий шлак содержит вредные вещества, поэтому перед использованием шлак должен не менее 1 года выдерживаться под открытым небом. Толщина стен из монолитного шлакобетона для жилых домов 55-60 см, для садовых домиков 35-40 см. Бетон с наполнителем из керамзита, пемзы имеет лучшие теплозащитные свойства, поэтому толщина стен может быть уменьшена на 5-10 см. Мелкоблочные стены пользуются спросом у застройщиков, так как они наиболее дешевые. Наполнителями являются те же материалы, что и для монолитных стен. Стены дома из блоков штукатурятся с наружной стороны цементно-песчаным раствором. С внутренней стороны облицовывают листами сухой штукатурки.

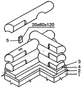
Рубленые стены - собирают из бревен лиственных и хвойных пород, желательно свежесрубленных. Бревна для строительства подбирают одинаковыми, с изменением диаметра не более 1 см на метр длины. Углы бревенчатых стен рубят двумя способами: рубка с остатком или в "чашку"; рубка без остатка или в "лапу". Такие же соединения применяются при пересечении наружных и внутренних стен дома. При рубке углов "в чашку" от края чашки до торца бревна оставляют примерно 25 см, т.е. на два таких остатка теряется около полуметра. Рубка углов "в лапу" экономнее. Толщину бревен выбирают исходя из минимальных зимних температур: 22-26 см при t° до -30°С, 24-36 см при t° от -35°С и ниже.

В садовых домиках толщина стен может быть не более 18-20 см. Внутренние стены рубленых домов собирают из бревен на 2-4 см меньшего диаметра. При сборке сруба бревна укладывают горизонтальными рядами. Нижний ряд бревен, опирающийся на фундамент, называется окладным венцом, на него идут лучшие бревна из дуба, лиственницы. Венцы примыкают друг к другу полукруглыми пазами, которые выбирают топором с нижней стороны бревен по всей длине. Ширина паза зависит от толщины бревна (если диаметр бревен 22-24 см - ширина паза 15 см; 18-20 см - ширина паза 12 см).


Рис. 15. Рубка бревенчатых стен с остатком:
1 - цоколь; 2 - гидроизоляция; 3 - слив; 4 - антисептированная доска; 5 - шип

Полагается вначале собрать сруб не на фундаменте, а рядом с ним, выдержать некоторое время, разметить бревна венцов и перенести на подготовленный фундамент. На столбы фундамента настилают рубероид, затем обрезки досок, пропитанные битумом, на них - окладной венец. Во время окончательной сборки в пазы укладывают паклю. Конопатить стены нужно два раза - при сборке и спустя год.


Рис. 16. Рубка угла "в лапу":
3 - слив; 4 - антисептированная доска; 6 - нагель

ВНИМАНИЕ! Продольные и поперечные стены будут смещены друг к другу по высоте на 1/2 диаметра бревна, поэтому первый венец выравнивают или с помощью подкладных пластин или устраивая цоколь разной высоты.

Брусчатые стены — собирать легче, обычно их собирают на фундаменте, углы первого венца соединяют "вполдерева", остальные - либо на коренных шипах, либо на шпонках, а кроме того, укрепляют в углах железными скобами, а по длине - нагелями. Для последних уже после постановки бруса на паклю сверлятся отверстия глубиной в полтора бруса. Затем можно обшить сруб досками или облицевать кирпичом. Кирпичная облицовка ставится на расстоянии 5-7 см от стены для вентиляции внутреннего пространства. Облицовку делают в полкирпича, устанавливая кирпичи на ребро, на специально уширенном цоколе.

Элементы соединений бревенчатых стен
Рис. 17. Элементы соединений бревенчатых стен:
а - соединение внутренней и наружной стен при рубке "в лапу"; б - стык бревна "в шип"

ВНИМАНИЕ! Необходимо связать облицовку с брусом металлическими связками через 30-40 см по высоте и через 1-1,5 м по длине. Облицовка и обшивка брусчатых и бревенчатых стен делается через 1 год после их возведения, когда произойдет полная усадка.

Элементы соединений бревенчатых стен
Рис. 18. Элементы соединений бревенчатых стен:
а - вырубка балки в наружную стену; б - врубка балки во внутреннюю стену; в - разметка "эталонной" лапы

Детали стен из брусьев
Рис. 19. Детали стен из брусьев:
а - угловое соединение наружных стен на шпонках; б - соединение наружной и внутренней стены; в - соединение брусьев "в полдерева"; г - заделка проема; д - соединение угла коренным шипом; 1 - брус наружной стены; 2 - нагель; 3 - шпонка; 4 - брус внутренней стены; 5 - рейка по высоте проема; 6 - оконная коробка; 7 - фаска; 8 - коренной шип

Каркасные и панельные стены. Эти стены самые экономичные, на них идет вдвое меньше древесины, они не подвержены усадке и служат не менее 40-50 лет. Каркасные стены — это деревянный каркас, заполненный утеплителем и обшитый с двух сторон досками или листовым материалом. В качестве утеплителя используется стекловата, опилки, мох. Органические утеплители необходимо обработать антисептиком и смешать с известью, гипсом, цементом, увлажнить и укладывать слоями по 15-20 см. Строительство дома из деревянных щитов проводится по прилагаемым чертежам и трудностей не вызывает.

ВНИМАНИЕ! Сборку стен необходимо начинать с углов здания и строго следить за вертикальностью и горизонтальностью установки щитов.

Каркасные стены
Рис. 20. Каркасные стены:
1 - верхняя обвязка; 2 - подбалочная обвязка; 3 - раскос; 4 - нижняя обвязка; 5 - цокольная обвязка; 6 - маячная рейка; 7 - стойка

Панельные стены собирают из тех же материалов, что и каркасные. Ширина панелей от 90 до 120 см. Сборка панелей производится в горизонтальном положении. Сначала собирают раму, прибивают внутреннюю обшивку, пленку, затем панель заполняют утеплителем и прибивают наружную обивку. Монтаж стен начинают от угла дома. Угловой стык выполняют или встык или используя угловой брус-стойку. Стенки заполняют либо паклей, либо войлоком и закрывают с наружной стороны деревянной рейкой. По верху панели укладывается подбалочная обвязка. Толщина панельной стены 14 см. Если утепляющим материалом является засыпка из шлака или опилок, толщина стены должна быть не менее 18 см.


Рис. 21. Панельные стены:
1 - подбалочная обвязка; 2 - цокольная обвязка; 3 - рейка-раскладка; 4 - угловая брус-стойка

Перегородки


---

Ссылки на другие страницы сайта по теме «строительство, обустройство дома»:




© 2000 - 2004 Oleg V. Mukhin.Ru™


Проект M-461-1K