Стройся!!! Строительство, проекты домов Электричество в доме и на даче   
Поиск Проекты домов Дом, участок, сад Стройка, отделка, ремонт Инж. системы Интерьер, дизайн Статьи Форум, блоги Объявления



Аппаратура и электроустановочные приборы

В электропроводках применяется различная аппаратура. Она предназначена для включения и выключения бытовых приборов в сеть, распределения электрического тока по проводке, для защиты электропроводки и включенных в нее приборов от перегрузок и короткого замыкания. Среди такой аппаратуры можно назвать распределительные щиты, пакетные выключатели, силовые ящики и защитные приборы.

Силовые ящики

Силовые ящики — это приборы, которые распределяют электроэнергию по электропроводке, отключают и включают внутренние сети, защищают оборудование от короткого замыкания. Устройство такого ящика показано на рис. 25.

Устройство силового ящика
Рис. 25. Устройство силового ящика:
1 — металлический корпус; 2 — предохранители; 3 — рубильник

В быту, как правило, применяются силовые ящики ЯВП-2-60, а также ЯРВМ-6122. Иногда используются ящики марок ЯБПВУ-1м. В нижеприведенной табл. 10 показаны технические характеристики силовых ящиков.

Таблица 10. Технические характеристики силовых ящиков

Марка Встраиваемые аппараты Число полюсов Сила номинального тока в ящике, А Сила номинального тока в плавкой вставке, А
ЯВП 2-60 Пакетный выключатель, два предохранителя ПР-2 2 60 15, 20, 25, 35, 45, 60
ЯРП11-302 Двухполюсный рубильник, два предохранителя ПН-2 2 80 30, 40, 50, 60, 80
ЯРВМ-6122 Трехполюсный рубильник, три предохранителя ПН-2 3 60 60
ЯБПВУ-1М Трехполюсный рубильник, три предохранителя ПН-2 3 100 100

Пакетные выключатели

Данные приборы предназначены для отключения и включения многопроводных цепей. Устройство пакетного выключателя показано на рис. 26.

Устройство пакетного выключателя
Рис. 26. Устройство пакетного выключателя:
а — общий вид; б — система контактов

Пакетные выключатели представляют собой несколько коммутационных пакетов, состоящих из подвижных и неподвижных контактов с фибровыми шайбами для гашения дуги, насаженных на ось. На этой же оси смонтирована поворачивающаяся рукоятка. Пружины во всех пакетах отлажены так, что включение и выключение происходит с одинаковой скоростью, независимо от скорости поворота рукоятки. Некоторые технические характеристики пакетных выключателей показаны в табл. 11.

Таблица 11. Технические характеристики пакетных выключателей и переключателей

Показатель ПП, ПВ ПКУ-2
Номинальное напряжение, В До 440 220, 380, 660
Сила номинального тока, А 10, 25, 63, 100, 250, 400 10, 12
Число пакетов До 4 До 4
Масса, кг 0,15-0,9 0,19-0,26

Распределительные щитки

Эти приборы используются для распределения энергии между потребителями тока (бытовыми электроприборами), а также производят учет потребляемой энергии. Помимо этого, распределительные щитки предназначены для защиты электрооборудования от перегрузок и токов короткого замыкания. На рис. 27 показано устройство некоторых распределительных щитков. В нижеприведенной табл. 12 даны технические характеристики квартирных распределительных щитков.

Распределительные щитки
Рис. 27. Распределительные щитки:
а — ЩК-10; б — ЩК-2101; в — ЩК-1101 (1 — предохранители; 2 — обрамление; 3 — автоматические выключатели; 4 — счетчик; 5 — пакетный выключатель)

Таблица 12. Технические параметры квартирных щитков.

Тип щитка Исполнение Кол-во однофазных групп Защитные аппараты
В воде На отходящих линиях
ЩК-10 Навесное 1 - Предохранители
ЩК2101 Для установки в нише 3 Пакетный выключатель Автоматические выключатели
ЩК1101 Навесное 3 То же То же
ЩКИ То же 3 То же То же

На эбонитовом или пластмассовом основании щитка также монтируются автоматические выключатели типа АЕ 1000, АБ-25, ВА-11 или однополюсные предохранители, имеющие резьбу. Помимо этого, устанавливаются пакетный выключатель и счетчик потребляемой энергии.

Защитная аппаратура

Для того чтобы защитить электрические цепи от токов короткого замыкания и перегрузок, используется автоматическая защитная аппаратура. При возникновении перегрузок в цепи воздействие происходит, в первую очередь, на изоляцию проводников. Изоляция пересыхает, ломается и осыпается, пластмассовые оболочки оплавляются, а тканевая и бумажная оплетка обугливается. Нарушение изоляции приводит к короткому замыканию. Помимо этого, короткие замыкания происходят из-за неисправности выключателей и розеток, плохого соединения в ответвительных коробках, а также механических повреждений в электропроводке. Неисправные бытовые электроприборы, не снабженные защитой, также вызывают короткое замыкание, могущее привести к пожару.

Наиболее оптимальным вариантом защиты цепей от перегрузок и токов короткого замыкания являются автоматические аппараты защиты, или автоматические выключатели с комбинированным расцепителем. В случае применения предохранителей, имеющих плавкую вставку, или автоматов с одним электромагнитным расцепителем сила номинального тока рассчитывается по формуле:

Iпл.в >= 0,8Iдп

где Iпл.в — сила номинального тока в плавкой вставке или электромагнитном расцепителе. Помимо этого, в качестве защитных устройств используются пробочные предохранители. Их действие основано на перегорании плавкого элемента при превышении силы номинального тока. Данные предохранители бывают разных конструкций. Наиболее эффективными считаются предохранители с передним присоединением. У таких предохранителей имеется фарфоровая или стеклянная вставка, расположенная в головке. Внутри вставки есть калиброванная проволока. Все вставки одной длины, но разные по диаметру (рис. 28).

Размещение плавких вставок в предохранителе
Рис. 28. Размещение плавких вставок в предохранителе:
1 — головка предохранителя; 2 — плавкая вставка; 3 — контактная пластина; 4 — контрольная фарфоровая гильза

Данные предохранители подключены к электросети таким образом, чтобы при выкручивании пробки винтовая гильза была без напряжения. Для этой цели провод, идущий от счетчика, присоединяют к центральному контакту, а провод, отходящий от электропроводки, — к контакту гильзы предохранителя.

К положительным качествам пробочных предохранителей со сменной плавкой вставкой относят прежде всего простоту изготовления, а также надежность срабатывания при коротком замыкании. Среди недостатков можно назвать необходимость менять перегоревшую пробку или плавкую вставку после каждого короткого замыкания, а также длительное время срабатывания при перегрузках. Сейчас довольно широко распространены предохранители автоматические резьбовые (ПАР), имеющие силу номинального тока в 6,3 и 10А. Внешний вид такого предохранителя показан на рис. 29.

Предохранитель автоматический резьбовой
Рис. 29. Предохранитель автоматический резьбовой

Как видно из рисунка, на крышке предохранителя имеется две кнопки. Нажатием большой кнопки выполняется включение автомата, нажатием маленькой — выключение. Резьбовые предохранители применяются практически во всех квартирных щитках. Конечно, данные предохранители намного дороже обычных пробочных с плавкими вставками, но имеют множество достоинств:

  • обладают многократным действием и удобны в работе;
  • мгновенно отключают оборудование при коротком замыкании;
  • прекрасно защищают электропроводку от перегрузок в сети;
  • их можно использовать также в качестве выключателей при помощи кнопок;
  • по положению, в котором находятся кнопки, можно определить, включена или нет электросеть;
  • устройства оснащены блокировкой от повторного включения поврежденного участка сети.

Защита от перегрузок в данных предохранителях производится на основе действия биметаллической пластины, которая работает в режиме реле, размыкающего цепь при незначительных, но длительных перегрузках. Защита же от больших перегрузок и токов короткого замыкания происходит с помощью электромагнитного реле. И биметаллическое, и электромагнитное реле в цепи соединены последовательно. При выходе из строя резьбового предохранителя его не ремонтируют, а заменяют на новый.

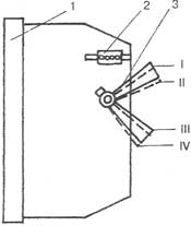
Выключатель автоматический однофазный
Рис. 30. Выключатель автоматический однофазный:
1 — корпус; 2 — указатель срабатывания; 3 — рукоятка управления (позиции рукоятки управления: I — включено; II — выключатель отключился автоматически; III — отключено вручную; IV — взвод для автоматического срабатывания)

Стоит рассказать и об однофазных автоматических выключателях, представляющих собой аппарат, в котором совмещаются функции предохранителя и выключателя (рис. 30). В качестве предохранителя в данном устройстве применяются тепловое и электромагнитное реле (расцепитель). При прохождении через аппарат электрического тока, большего по значению, чем номинальный ток расцепителя, реле размыкает цепь. Тепловое реле защищает цепь от перегрузок. При небольших перегрузках ему на это требуется немного больше времени. При возрастании перегрузок время срабатывания значительно сокращается, а при возникновении короткого замыкания оно практически равно нулю, т. е. реле срабатывает почти мгновенно. После того как тепловой расцепитель отключил электроцепь, необходимо выждать некоторое время (охлаждение биметаллической пластины), затем перевести механизмы в положение «Отключено» и после этого включить автомат. Электромагнитное реле срабатывает без выдержки времени, т. е. выключает электроцепь при достижении максимально допустимого значения силы тока.

Комбинированный расцепитель — это сочетание теплового и электромагнитного реле. Он защищает электрооборудование как от перегрузок, так и от короткого замыкания. Каждый аппарат снабжен табличкой с указанием номинального тока и тока срабатывания расцепителя. Некоторые из технических параметров можно видеть в табл. 13.

Таблица 13. Технические параметры автоматических выключателей.

Номинальные параметры АБ-25м АК-1031
Напряжение, В 220 380
Сила тока, А 25 25
Сила тока в расцепителе, А 16, 20, 25 6, 10, 16, 20, 25
Площадь сечения внешних проводов, мм2 1,5-6 15,6

Пусковая аппаратура

Основным устройством данной аппаратуры является магнитный пускатель. Он представляет собой агрегат, основными элементами которого являются электромагнит (сердечник с обмоткой и якорь), силовые контакты, а также блок-контакты вспомогательных цепей. Неподвижные контакты при помощи аппарата присоединяют к питающей сети, а подвижные — к отходящей линии. В бытовых электроприборах для производства дистанционного пуска и остановки электродвигателей применяются магнитные пускатели, имеющие комбинацию контактора с тепловым реле. Характеристики магнитных пускателей можно узнать из табл. 14. Кроме этого, ниже приводится табл. 15 с данными о кнопках управления магнитными пускателями. В зависимости от мощности двигателя следует выбирать магнитные пускатели и нагревательные элементы тепловых реле, имеющиеся в них. Чтобы было проще разобраться в этом вопросе, предлагается табл. 16.

Таблица 14. Магнитные пускатели серии ПМЕ

Марка Сила номинального тока в главных контактах, А Наличие теплового реле Возможность реверса Степень защиты
ПМЕ-211 32 - - Открытый без кожуха
ПМЕ-212 25 + - То же
ПМЕ-213 32 - + То же
ПМЕ-214 25 + + То же
ПМЕ-221 23 - - Защитный в кожухе
ПМЕ-222 23 + - То же
ПМЕ-223 23 - + То же
ПМЕ-224 23 + + То же
ПМЕ-231 23 - - Брызгозащищенный
ПМЕ-232 23 + - То же
ПМЕ-233 23 - + То же
ПМЕ-234 23 + + То же

Таблица 15. Кнопки управления

Марка Номинальные параметры Число кнопок Характеристика
Сила тока, А Напряжение, В
ПКЕ 10 500 2-3 Открытые и защищенные
ПКУ 6, 10 500 1-9 То же

Таблица 16. Выбор защитной и пусковой аппаратуры,

Номинальная мощность двигателя, кВт Сила номинального тока, А Сила пускового тока, А Сила номинального тока в расцепителе-автомате, А Марка пускателя Сила номинального тока в нагревательном элементе пускателя, А Площадь сечения алюминиевой жилы (в пластмассовой изоляции), мм2  
Провода Кабеля, проложенного открыто  
Проложенного открыто В трубах  
0,37 0,93 4,18 17,6 ПМЕ-111 1 2,5 4 2,5  
0,55 1,33 6 27,5 ПМЕ-111 1,6 2,5 4 2,5  
0,75 1,7 9,35 44 ПМЕ-111 2 2,5 4 2,5  
1,1 2,5 13,75 44,5 ПМЕ-111 2,5 2,5 4 2,5  
1,5 3,3 21,4 70 ПМЕ-111 4 2,5 4 2,5  
2,2 4,7 30,6 110 ПМЕ-111 5 2,5 4 2,5  
3 6,1 39,6 110 ПМЕ-111 6,3 2,5 4 2,5  

Контактные зажимы

Данные устройства используются для подключения проводов к электроустановкам. К ним можно подсоединять как алюминиевые, так и медные жилы проводов. С помощью зажимов обеспечивается постоянство контактного нажатия и предотвращается выдавливание жилы из-под зажимов. Зажимы бывают винтовыми и штыревыми. Первые оснащены контактным винтом с цилиндрической головкой, подпружиненным устройством, а также предохранительной шайбой, не дающей жиле выходить из-под зажима.

Штыревые зажимы представляют собой шпильку с резьбой диаметром не менее 5 мм, имеющей ограничительную шайбу, две обыкновенные шайбы и три гайки. К обоим типам зажимов подключают одно- и многопроволочные жилы.

Электроустановочные блоки выключателей с розеткой

В настоящее время при электромонтажных работах стали использовать блоки выключателей с розеткой. Это делается потому, что такие блоки намного удобнее не только в монтаже, но и в эксплуатации. Они представляют собой квадратный или прямоугольный корпус, изготовленный из металла или пластмассы. В корпусе установлены два или три выключателя и розетка (рис. 31).

Блок выключателей с розеткой
Рис. 31. Блок выключателей с розеткой:
а — марки БВРЗ; б — марки БСУЗ; в — схема присоединения (1 — коробка; 2 — клавиша выключателя; 3 — крепежный винт; 4 — крышка; 5 — контактные зажимы розетки; 6 — контактные зажимы выключателей)

Данные блоки монтируют, как правило, в прихожей, коридоре, ванной, туалете, на кухне. Размеры корпуса блока марки БВР-2, БВР-3, устанавливаемого в стене, составляют 81 х 147 х 28 мм, марки БСУЗ — 190 х 88 х 44 мм.

Резьбовые патроны

Используются при подключении к электросети осветительных ламп накаливания, а также пробочных предохранителей. Резьбовые патроны представляют собой корпус, выполненный из керамики или пластмассы, в котором имеются вкладыш и резьбовая гильза. На вкладыше есть боковые и центральные контакты. В настоящее время выпускаются такие патроны, в которых находящаяся под напряжением гильза недоступна, что делает их безопасными. Данные устройства бывают нескольких типов: подвесные, потолочные и стеновые. Для использования в быту изготавливаются патроны Р-14, имеющие диаметр резьбы, равный 14 мм, для ламп мощностью до 40 Вт, а также патроны Р-27 (резьба 27 мм) для ламп, имеющих мощность от 150 до 300 Вт. В зависимости от категории помещения патроны бывают с пластмассовым и керамическим корпусом. На рис. 32 показано устройство патрона Р-27.

Устройство резьбового патрона марки Р-27
Рис. 32. Устройство резьбового патрона марки Р-27:
а — внешний вид патрона (1, 2 — свинчивающиеся части; 3 — вкладыш; 4, 5 — контакты; 6 — центральный контакт; 7 — гильза цоколя лампы); б — вид вкладыша со стороны контактов (8, 9 — винты); в — вид вкладыша со стороны винтов 10 и 11 (12 — вкладыш; 13, 14 — пластины); г — детали разобранного вкладыша

Штепсельные розетки и вилки

Для того чтобы вручную отключить какой-либо бытовой электроприбор от сети, используются штепсельные розетки и вилки, применяемые совместно. В связи с этим, несмотря на различия во внешнем виде, способе монтажа и крепления, а также установки, они должны полностью соответствовать друг другу. Как видно из рис. 33, гнезда розетки и рожки вилки расположены одинаково. Для розеток с двумя гнездами используют вилки с двумя рожками.

Устройство розетки
Рис. 33. Устройство розетки:
а, в — гнезда для круглых и плоских рожков (1 — сплошной рожок; 2 — гнездо; 3 — плоский рожок; 4 — гнездо под плоский рожок); б — розетка с комбинированными гнездами (5 — комбинированное гнездо)

Для обеспечения хорошего контакта рожки вилки должны плотно входить в гнезда розетки. Для этого используются либо пружинящие гнезда, либо пружины, сжимающие входящий в гнездо рожок. На плоских рожках имеется углубление, в которое входит выступ гнезда. На рис. 34 показано устройство вилки.

Устройство штепсельной вилки
Рис. 34. Устройство штепсельной вилки:
а — вилка с круглыми рожками (1 — корпус; 2 — круглые рожки; 3 — винт; 4 — винты; 5 — скобка для закрепления шнура; 6 — изоляция под скобку; 7 — углубление в корпусе; 8 — винт с шайбой для присоединения жилы шнура; 9 — выступ; 10 — гайка); б — вилка с тремя плоскими рожками (11 — корпус; 12 — крышка; 13 — скобка; 14 — короткие рожки; 15 — защитный рожок; 16, 17, 18, 19 — винты)

К ОГЛАВЛЕНИЮ


---

Ссылки на другие страницы сайта по теме «строительство, обустройство дома»:




© 2000 - 2007 Oleg V. Mukhin.Ru™


Проект F-114-1S