Стройся!!! Загородный дом. Архитектурные решения   
Поиск Проекты домов Дом, участок, сад Стройка, отделка, ремонт Инж. системы Интерьер, дизайн Статьи Форум, блоги Объявления



Окна на крыше

(Крыша и оконные проёмы на крыше)

Если оборудование окон на стене фасада дома - это дань многовековым традициям, то окна на оборудованном чердачном пространстве обрели нынешнюю форму лишь за последние пятьдесят лет. Многообразие форм окон на крыше, естественно, порождено многообразием форм использования чердачных пространств. Исходя из соображений естественной освещенности, из возможностей использования и экономических соображений, сегодня уже стали реже делать выступающие окна; причина этого состоит в том, что с точки зрения степени освещенности встроенные в плоскость крыши окна более предпочтительны, бывают даже случаи, когда о других окнах не может быть даже речи.

Возможности для выбора формы окон в выступающих из плоскости крыши надстроек огромны.

Благодаря новым техническим достижениям применяется целый ряд своеобразных решений: например, существуют отодвигающиеся в сторону, поднимающиеся наверх, распахивающиеся стеклянные крыши и окна на крыше.

Ниже на цветных фотографиях вы найдете множество самых разнообразных вариантов окон на крыше - один образец красивее другого; среди них хотелось бы особо выделить способ состыковки или встраивания окна в металлическое покрытие крыши.

Объем затрат на расширение квартиры за счет мансарды или чердачного пространства либо оборудование там новой квартиры или помещений общего пользования составляет половину того, во что это обходится на обычном этаже. В готовом доме с высокой крышей имеется чердак, а при оборудовании чердачного пространства расположение прочих конструкций дома, например, стен, потолков и оснований, меняется незначительно либо не меняется вообще.

Окна в плоскости крыши размещаются на ее поверхности, они встраиваются в конструкцию крыши так, чтобы ни с какой точки зрения не портить вид здания и не мешать возможностям использования помещений, расположенных за окнами. С архитектурной точки зрения нельзя сказать, что они привлекают к себе внимание, но эстетическую ценность им придает то, что они смело встраиваются в крышу, а если при их распределении применить фантазию, можно будет устранить монотонный, плоский характер таких окон. Наряду с тем, что такие окна просты, об их многосторонней функциональности говорит то, что сейчас они обрели популярность в самых разных концах света. Венгерские исследования, например, свидетельствуют о том, что если 20 лет назад из 100 жилых домов максимум в 1-2 сооружали окна на крышах, сегодня их делают уже на 2/3 всех строящихся домов. Примерно в 95% строящихся сегодня домов оборудуют мансарды, а каждое десятое из окон чердачных пространств - окно, встроенное в плоскость крыши. В Венгрии более 90% окон, встроенных в плоскость крыши, - это продукция фирмы VELUX (или HUNGVELUX).

Выступающая из плоскости крыши надстройка с окном и черепичным покрытием гармонично сочетается с крышей дома.

Надстройка с окном, имеющая покрытие из фальцованного железа, по своему внешнему виду может конкурировать с любым покрытием крыш. Если оборудуется надстройка с арочным окном, лучший материал для покрытия корпуса надстройки - кровельное железо.

Окна для крыши

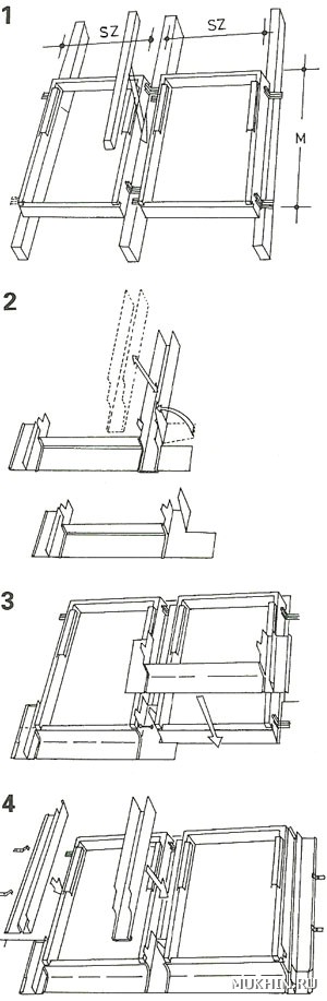
Окна для крыши типа VELUX можно устанавливать в плоскость крыши как по одному, так и блоками, не нарушая при этом форму дома или крыши: а) однорядная установка: окно из одного, двух, трех и более элементов; b) двухрядная установка: по два, по четыре, по шесть или более элементов, монтируемых в ряд.

Рамы КОМБИ, которые применяются для монтажа одного, двух, трех окон для крыши типа VELUX в ряд по горизонтали.

Установка окон для крыши

Установка окон для крыши VELUX рядом друг с другом: 1 установка между рамами подкладки для ее поднятия; 2 подготовка нижних элементов рамы, язычок листа прижимается к межрамной канавке; 3 монтаж и закрепление первых (начальных) нижних элементов; 4 установка и закрепление межрамных канавок и боковых окантовочных элементов.

Окна на крыше

Окна на крыше, установленные горизонтально в ряд.

В одно- или многоквартирном доме либо в группе домов окна на крыше - такой же элемент, формирующий его характер, как и обычные окна или балконы (пример VELUX).

К ОГЛАВЛЕНИЮ

Ссылки по теме, читайте также:




© 2000 - 2010 Oleg V. Mukhin.Ru™


Проект F-195-1D